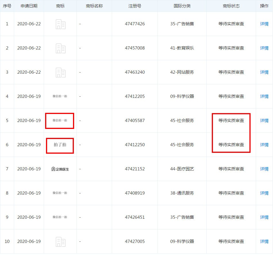
腾讯申请多个“拍一拍”相关商标 状态为“等待实质审查”
天眼查数据显示,近日,腾讯科技深圳有限公司新增多条商标信息,包括“微信拍一拍”“拍了拍”等。目前商标状态均显示为“等待实质审查”。

来源:天眼查
6月中旬,微信上线“拍一拍”功能。当你想要拍一个人的时候,只需在群聊或个人对话框中直接轻轻点击两下对方的头像,对话框中就会出现“你拍了拍 XXX”的字样,你的手机也会同步震动一下。当然,你也可以“拍一拍”自己。一时间,“拍一拍”在微信好友流行开来。
天眼查数据显示,腾讯科技深圳有限公司成立于2000年2月,注册资本200万美元,法定代表人为马化腾。
上一篇:山西招录公务员5736人,本科学历是“主力军”
下一篇:最后一页










贵州历史
贵州历史
贵州历史
QQ公众号关注
新浪微博关注
微信号:dd_gzw
工商网监
常务理事
公安备案
工信部备案
安全联盟
实名认证